Installing Side Glass
- The unit has 2 channels, one on the top and one on the bottom to hold the side glass.
- Insert the glass at an angle in to the top channel.
- Swing the bottom edge of the side glass in to the unit. See Figure 1.1.
- Slide the glass down in to the bottom channel.
- Push the glass back as far as it will go to make installation of the front glass easier. See Figure 1.2.

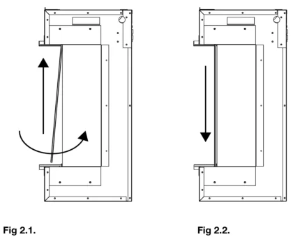
Installing Front Glass
- The unit has 2 channels, one on the top and one on bottom to hold the front glass.
- Using the included suction cups, insert the glass at an angle in to the top channel.
- Swing the bottom edge of the front glass in to the unit. See Figure 2.1.
- Slide the glass down in to the bottom channel. See Figure 2.2.
